Skip to content

消费明细

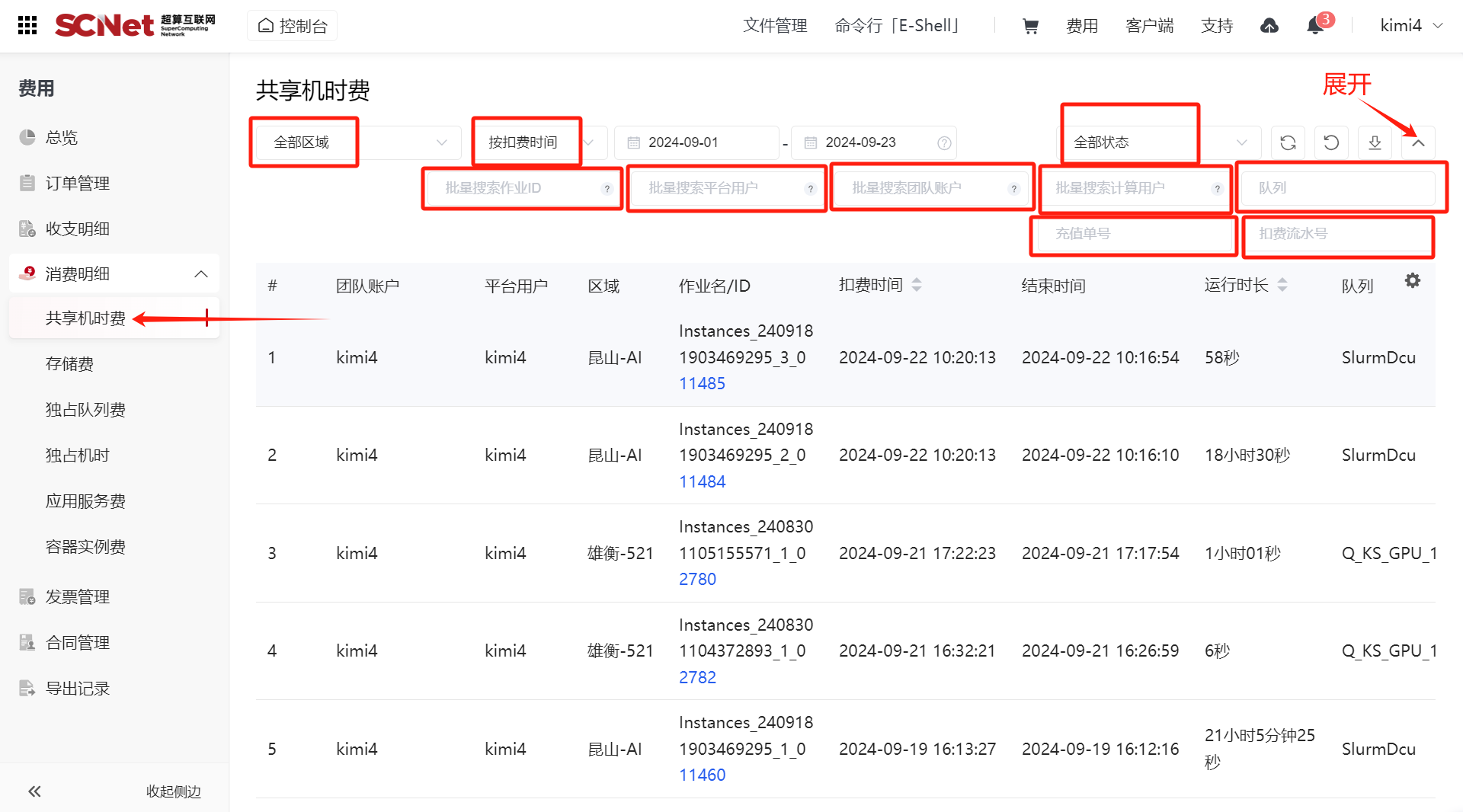
进入控制台,在“费用>消费明细”中可以查看您关联的账户在当前计算中心的费用详单。包括共享机时费、存储费、独占队列费、独占机时、应用服务费和容器实例费。

1.1.png

1.2.png

共享机时费、存储费、独占队列费、独占机时、应用服务费和容器实例费都可以按照特定要求进行筛选查找和导出,以共享机时费为例,如下图所示:

1.3.png 点击导航栏右侧“下载”按钮,可下载一段时间内的共享机时费,如下图: 1.4.png注:共享机时下载的时间范围不能跨年查询,一次最多导出20万条,超过将会拆分多个文件导出