AI类应用
>
计费说明
(1)notebook采用“后付费“的计费模式,即先充值再使用,根据实际使用时长进行扣费;
(2)充值的金额都会到现金账户中,充值后所有k8s资源均可使用,扣费从现金账户中扣除。
(1)容器运行开始计费,关机结束计费;(注:notebook启动时间不计费,容器真正运行起来才会开始计费)
(2)整点扣费一次和关机时扣费一次,扣费金额=计费时长×加速卡单价×加速卡数量。(举例:容器运行时长为:14:30-16:15,加速卡单价2元/卡×时,加速卡数量2张;在15:00会进行一次扣费,扣费金额=0.5×2×2=2元,在16:00会进行一次扣费,扣费金额=1×2×2=4元,在16:15关机后进行一次扣费,扣费金额=0.25×2×2=1元,最终本次容器运行整体扣费金额=7元。)
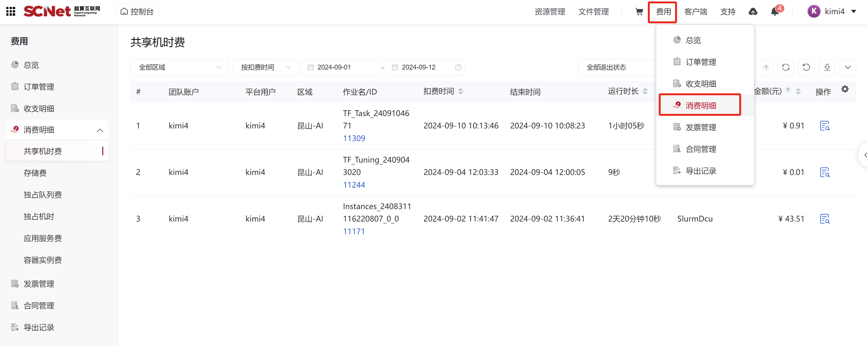
(1)旧版Notebook、容器实例、模型训练产生的费用请在“费用>消费明细>共享机时费”中查看。创建容器实例后,会生成一笔容器实例的后付费订单,可在“费用>消费明细>共享机时费”中查看,容器关机后,点击“查看详情”可以查看容器的运行时长、加速卡单价、数量和整体消费金额。 

(2)新版Notebook、模型部署产生消费明细信息请在“费用>消费明细>容器实例费”中查看。 